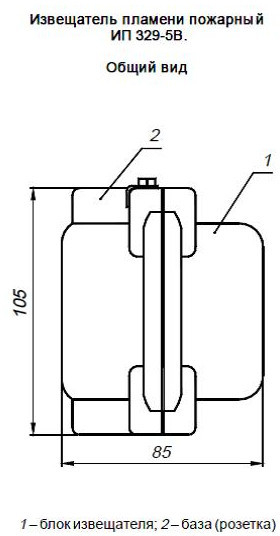
ИП 329-5В АМЕТИСТ с двумя кабельными вводами
ИП 329-5В АМЕТИСТ с двумя кабельными вводами - извещатель пламени ультрафиолетового диапазона (УФ) с 2-мя кабельными вводами (в комплектации поставки: 2 шт. кабельных ввода - FEC1 или KHB1 - в заказе указать), из коррозионностойкого модифицированного алюминиево - кремниевого сплава (ALSi13), пожарный взрывозащищенный (1ExdIICT6/CT5), степенью защиты (IP66) предназначен для выдачи в шлейф пожарной сигнализации тревожного сигнала «Пожар» (принцип действия - определение диапазона УФ излучения и его преобразование в электрический сигнал ) и применяется на предприятиях химической, нефтегазодобывающей, нефтегазоперерабатывающей отраслей, на объектах с агрессивными средами и прочих взрывоопасных зонах класса (1 и ниже) других производств.
Данный извещатель совместим с любым ППКП, электрические цепи которых имеют параметры, позволяющие подключение данного извещателя.
После срабатывания извещатель автоматически возвращается в дежурный режим.
Площадь, контролируемая извещателем, соответствует СП5.13130.2009 и зависит от высоты защищаемого пространства.
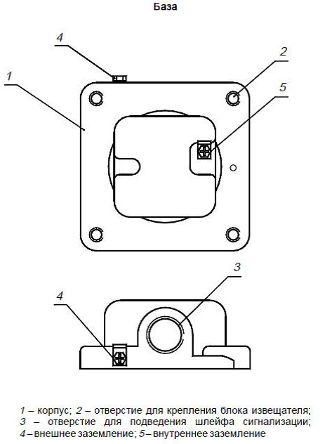
Крепление извещателя осуществляется с помощью крепёжного комплекта.
Для проверки работоспособности извещателя используется свеча или лампа накаливания (100Вт).
При установке извещателя вне взрывоопасных зон, он может работать практически с любыми приемно-контрольными приборами.









