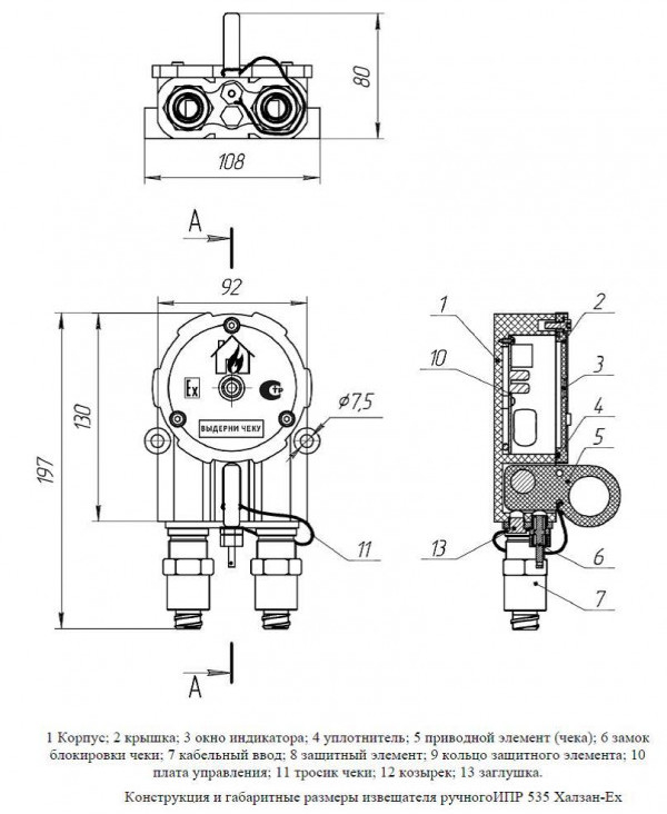
Ручной взрывозащищенный извещатель ИПР 535 ХАЛЗАН Ех
ИПР 535 ХАЛЗАН Ех - извещатель из полиамида пожарный ручной на 2 кабельных ввода (приобретаются отдельно) взрывозащищенный (0ExiaIIBT6Ga), искробезопасный, степенью защиты (IP67), класса А (активация одним действием) предназначен для ручного при выдергивании приводного элемента включения сигнала пожарной тревоги (принцип действия - увеличение или уменьшение тока в ШС) в системах автоматического пожаротушения и пожарной сигнализации и применяется на предприятиях химической, нефтегазодобывающей, нефтегазоперерабатывающей отраслей, в подземных выработках шахт, рудников и их наземных строениях, в взрывоопасных зонах класса (0 и ниже) других производств.
Конструкция извещателя позволяет эксплуатировать его на открытом воздухе как в условиях крайнего севера с пониженной температурой, так и в условиях повышенной влажности.
Вводные устройства извещателя выполнены для монтажа кабелем круглого сечения наружным диаметром 6-12 мм (по резиновому уплотнению – поясной изоляции).
Защита извещателя от атмосферных осадков осуществляется с помощью козырька (приобретается отдельно).
Подключение извещателя осуществляется на размыкание (последовательное подключение) или на замыкание (параллельное подключение).





